Henry J Script

Henry J Restoration - Installation Instructions
- - -

Home

This section is designed to supply access to the Installation Instructions for Kaiser Frazer Accessories and Options
Automatic Windshield Washer Part No. 100105
Heater Installation Part No. 100171
Fresh Air Duct - Right Side Part No. 100172
Fresh Air Duct - Left Side Part No. 100173
Directional Signal Part No. 100216
Directional Signal - Wards Part No. 61-6998
Quarter Window Vent Package Part No. 100220
Door Frame and Front Window Ventilator Package Part No. 100254
Oil Filter Package Part No. 212274

Henry J Custom Radio with Foot Control
Thanks to Mark Steele

Henry J's first came out that the 'optional' Radio for it was left over 1947 and 1948 Kaiser and Frazer Radios. They were installed by means of an adapter kit*.
KFP-432 KF-100167 513, 514

United Motor Service Auto Radio Bulletin
Thanks to Mark Steele

Then Henry Js started receiving a new radio designed for them
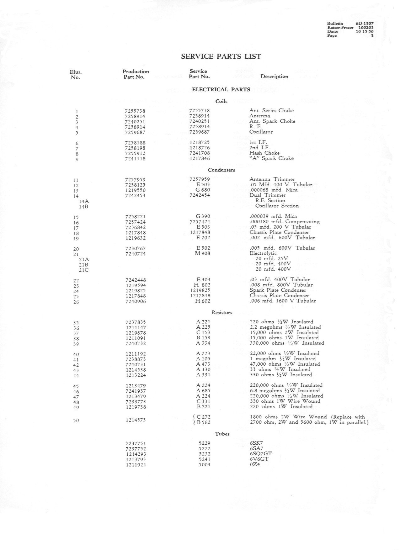
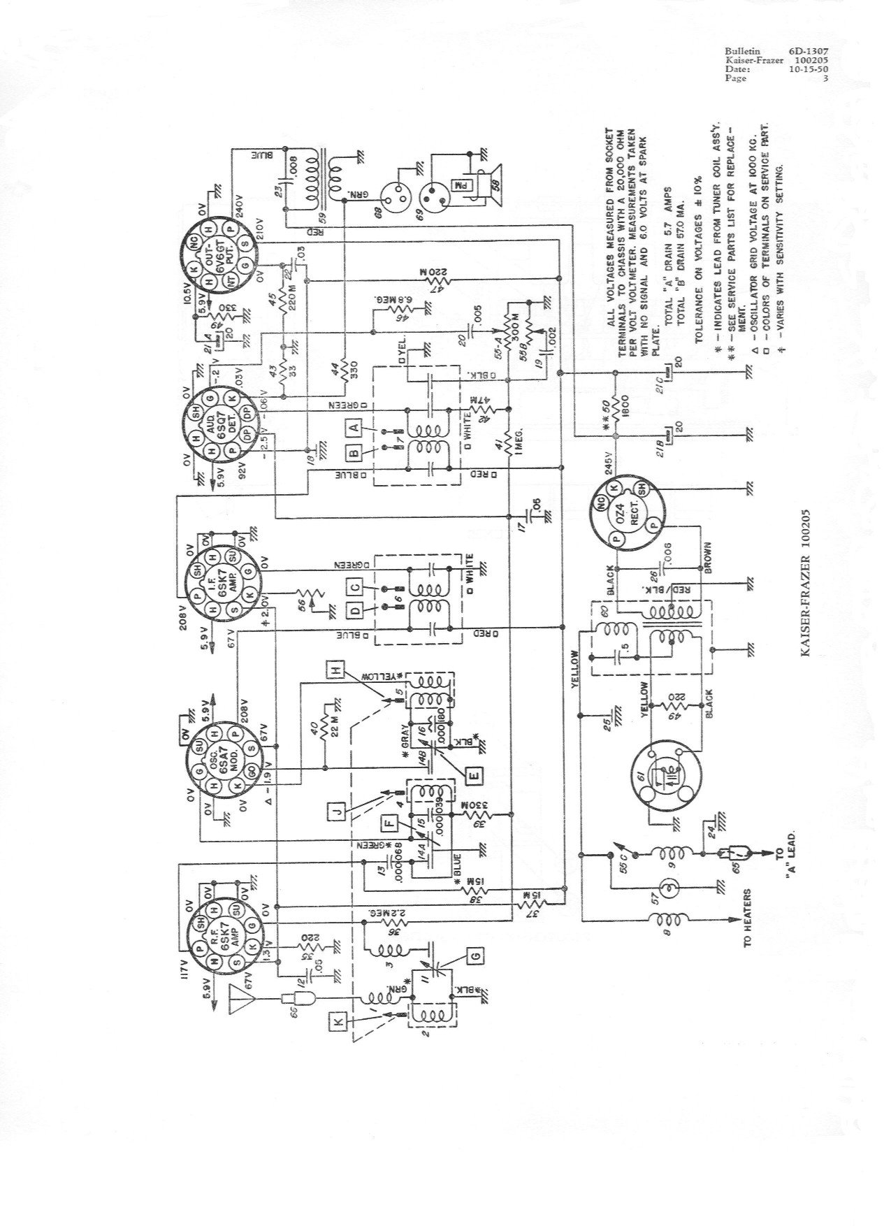
6D-1307 Oct 15, 1950 KF-100205 513, 514
   

Home